Ningbo Richge Technology Co., Ltd.
Ningbo Richge Technology Co., Ltd.
Өнімдер

Желілік құрылғы сериясы

Guide Rail Device Series

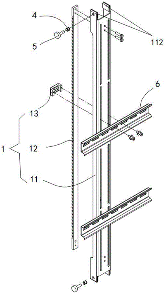
The switchgear guide rail is used for support and guide electrical equipment or components to move in the switchgear.  

Support and guide: Provide support for electrical equipment or components to ensure the stable position in the switchgear and guide them to move in a specific direction for easy installation, commissioning and maintenance.

Easy installation and removal: Allow electrical equipment or components to be easily inserted or unplugged from the switchgear, improving the efficiency of installation and maintenance.

Protect equipment: Reduce friction and collision between the equipment and the distribution cabinet during the plug-in and unplug process, thereby protecting the surface and internal structure of the equipment from damage.

Improve space utilization: By reasonably arranging the guide rails, the space in the distribution cabinet can be fully utilized, making the installation of electrical equipment more compact and orderly.


Өнімдер
View as  
 
Электрлік қосалқы қондырғыларға арналған рельс

Электрлік қосалқы қондырғыларға арналған рельс

Электрлік тарату машиналарына арналған рельс - бұл электр жабдықтарында пайдаланылатын қосалқы қондырғыларды қолдау, бағыттау және орнатудың механикалық құрылымы. Оның дизайнының негізгі мақсаты - коммутатордың тұрақтылығын, дәл туралаудың және кейінгі техникалық қызмет көрсетуді және ауыстырудың ыңғайлылығын қамтамасыз ету. Рельстер әдетте алюминий қорытпасынан немесе мырышталған болаттан жасалған, берік жүктемелері мен коррозияға төзімділігі бар. Арнайы орталар үшін (дымқыл немесе коррозиялық орындар сияқты), рельстер коррозияға қарсы емдеуден немесе тот баспайтын болаттан жасалған болады. Жалпы теміржол пішіндері, «C», «U» немесе «U» немесе «u» немесе «u» немесе «L» бөлімдеріне қосалқы қондырғылармен үйлеседі. Сонымен қатар, бағыттаушы рельстің стандартты мөлшері жабдықтың модульдік қондырғысына ықпал ететін халықаралық техникалық сипаттамаларға сәйкес келеді. Қатты ортаға төтеп беру үшін, бағыттаушы рельстің бетіне мырышталған, электрофоретикалық жабын және коррозияға төзімділікті жақсарту үшін басқа да емдеу болуы мүмкін.
Электрлік қосалқы көлік бағыттағыш

Электрлік қосалқы көлік бағыттағыш

Ричч - бұл Қытайда электрлік электрлік бағыттағыштардың өндірушісі, бұл қосалқы жүйелердің тұрақтылығы мен функционалдылығын арттыруға арналған дәлдікке жасалған шешімдерге мамандандырылған. Біздің бағыттаушы рельстеріміз маңызды компоненттер үшін маңызды қолдау және туралауды қамтамасыз ететін электрлік қосалқы қонақтардың сенімді және тегіс жұмысын қамтамасыз етуге арналған ажырамас болып табылады.
Aluminum Guide рельс

Aluminum Guide рельс

Рикц - бұл Қытайда алюминий бағыттағышты өндірушісі, Қытайда электр тарату жүйелеріне дәл қолдау көрсету және туралауды қамтамасыз етуге арналған жоғары өнімді шешімдерге мамандандырылған. Біздің алюминий бағыттағышымыз рельстер жеңіл дизайн жеңілдетілген, оларды заманауи қосалқы қосымшалар үшін тамаша таңдау жасайды.
Richge - Қытайдағы кәсіби Желілік құрылғы сериясы өндіруші және жеткізуші. Біздің арзан бағадағы өнімдерге қызығушылық танытсаңыз, бізге хабарласыңыз.
X
Біз cookie файлдарын сізге жақсырақ шолу тәжірибесін ұсыну, сайт трафигін талдау және мазмұнды жекелендіру үшін пайдаланамыз. Осы сайтты пайдалану арқылы сіз cookie файлдарын пайдалануымызға келісесіз. Құпиялылық саясаты
Қабылдамау Қабылдау